Nut Splitter
Nut splitting with hydraulic nut cutters is the safest, most efficient, and cost effective way to remove nuts that cannot be removed using torque wrenches.
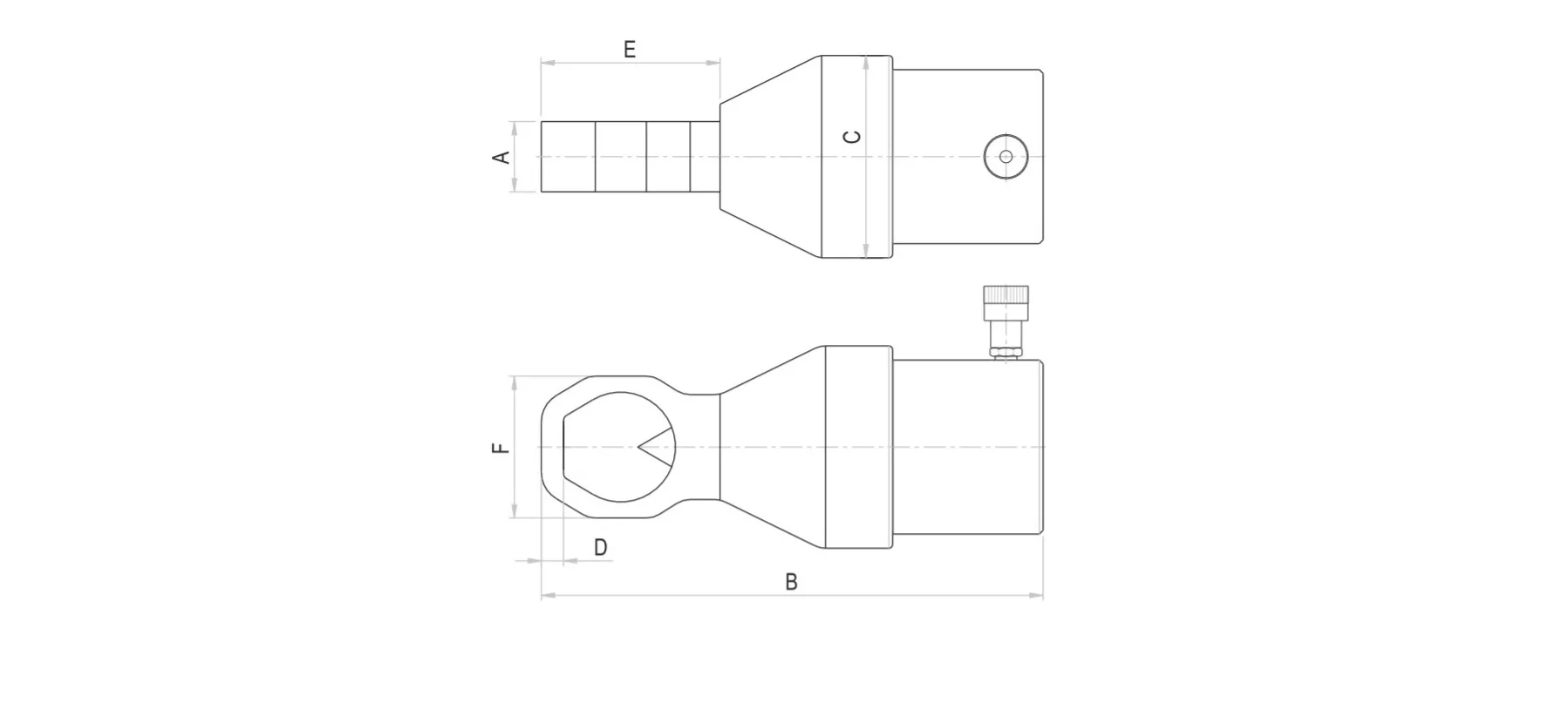
The head design is fitted with a heavy-duty chisel, and permits the splitting of nuts on a wide varTIGHTXy of applications.
Angular head type are for routine applications and straight head type are for heavy duty applications. It requires pressure of 700 bar.
| Model | Stud Diameter | Nut A/F | A | B | C | D | E | F | Wt | ||
|---|---|---|---|---|---|---|---|---|---|---|---|
| mm | inches | mm | inches | mm | mm | mm | mm | mm | mm | Kg | |
| TNSA-1018 | M06-M12 | 1/4" - 1/2" | 10-18 | 3/8" - 11/16" | 40 | 52 | 8 | 20 | 130 | 30 | 1 |
| TNSA-1824 | M12-M16 | 1/2" - 5/8" | 18-24 | 11/16" - 15/16" | 54 | 67 | 12 | 24 | 163 | 41 | 2 |
| TNSA-2432 | M16-M22 | 5/8" - 7/8" | 24-32 | 15/16" - 1.1/4" | 64 | 79 | 13 | 30 | 187 | 52 | 3 |
| TNSA-3241 | M22-M27 | 7/8" - 1.1/16" | 32-41 | 1.1/4" - 1.5/8" | 78 | 94 | 20 | 37 | 219 | 69 | 5 |
| TNSA-4150 | M27-M33 | 1.1/16" - 1.1/4" | 41-50 | 1.5/8" - 2" | 95 | 113 | 21 | 45 | 265 | 78 | 10 |
| TNSA-5060 | M33-M39 | 1.1/4" - 1.1/2" | 50-60 | 2" - 2.3/8" | 106 | 128 | 25 | 54 | 297 | 91 | 13 |
| TNSA-6075 | M39-M75 | 1.1/2" - 1.7/8" | 60-72 | 2.3/8" - 2.15/16" | 156 | 185 | 27 | 75 | 357 | 110 | 34 |
| TNSA 6075 : Nut Splitter Angular Type 60-75=Nut A/F | |||||||||||
| Model | Stud Diameter | Nut A/F | A | B | C | D | E | F | Wt | ||
|---|---|---|---|---|---|---|---|---|---|---|---|
| mm | inches | mm | inches | mm | mm | mm | mm | mm | mm | Kg | |
| TNSS-1636 | M10-M24 | 3/8" - 7/8" | 16-36 | 11/16" - 1.7/16" | 38 | 271 | 105 | 10 | 92 | 66 | 11 |
| TNSS-3651 | M24-M33 | 7/8" - 1.1/4" | 36-50 | 1.7/16" - 2" | 38 | 287 | 108 | 13 | 109 | 86 | 12 |
| TNSS-4660 | M30-M39 | 1.1/8" - 1.1/2" | 46-60 | 1.13/16" - 2.3/8" | 57 | 386 | 164 | 15 | 125 | 102 | 35 |
| TNSS-5570 | M36-M45 | 1.3/8" - 1.3/4" | 55-70 | 2.3/16" - 2.3/4" | 57 | 407 | 164 | 18 | 145 | 115 | 36 |
| TNSS-7090 | M45-M60 | 1.3/4" - 2.1/4" | 70-90 | 2.3/4" - 3.1/2" | 78 | 465 | 214 | 22 | 154 | 146 | 78 |
| TNSS-80100 | M52-M68 | 2" - 2.1/2" | 80-100 | 3.1/8" - 3.7/8" | 80 | 487 | 214 | 22 | 162 | 160 | 79 |
| TNSS-95108 | M64-M72 | 2.1/2" - 2.3/4" | 95-108 | 3.7/8" - 4.1/4" | 95 | 579 | 250 | 29 | 185 | 192 | 123 |
| TNSS-105127 | M72-M80 | 2.3/4" - 3.1/4" | 105-115 | 4.1/4" - 5" | 105 | 590 | 250 | 29 | 185 | 229 | 135 |
| TNSS-115136 | M80-M90 | 3.1/4" - 3.1/2" | 115-130 | 5" - 5.3/8" | 105 | 600 | 250 | 33 | 198 | 238 | 138 |
| TNSS 115136 : Nut Splitter Straight Type 115-136 =Nut A/F | |||||||||||